繁 | 无障碍浏览 | 关怀版
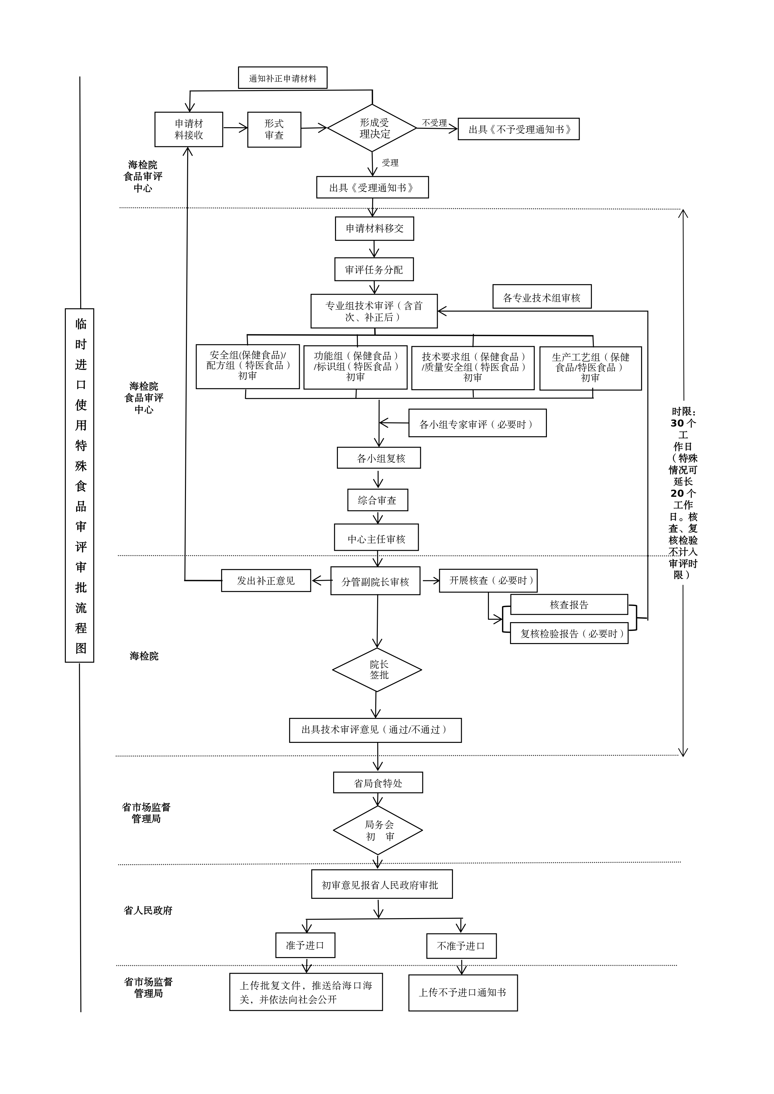
业务流程
中文域名:海南省检验检测研究院.公益
主办:海南省市场监督管理局
承办:海南省检验检测研究院
地址:海南省海口市蓝天路46号质检大楼
联系电话:0898-65340077
琼ICP备2025051692号-3
国家市场监督管理总局
海南省人民政府网
国家药典委员会
国家药品监督管理局
中国质量检验检测科学研究院
中国计量科学研究院
中国特种设备检测研究院
中国食品药品检定研究院
国家市场监督管理总局食品审评中心
海南省市场监督管理局
海南省知识产权局
海南省药品监督管理局